Duyurular
Sayaçlar
Aktif: 2
Toplam: 253227
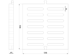
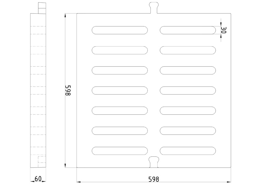
Ürünler > Yağmur Suyu Izgarası 600x600
Ürün Fiyatı: 0,00 TL
Özellikleri:

TS 1478 EN 124 Cam Elyaf Takviyeli Kompozit Yağmur Suyu Izgara Takımı Bayındırlık Bakanlığı İnşaat Yapı İşleri birim fiyat katalogunun;
-    23.257/01 poz numaralı 30x100x5cm ebatlarında cam elyaf takviyeli kompozit ızgara, kompozit yağmur suyu ızgarası
-    23.257/02 poz numaralı 40x100x6cm ebatlarında cam elyaf takviyeli kompozit ızgara, kompozit yağmur suyu ızgarası
-    23.257/03 poz numaralı 50x100x6cm ebatlarında cam elyaf takviyeli kompozit ızgara, kompozit yağmur suyu ızgarası
-    23.257/04 poz numaralı 60x100x6cm ebatlarında cam elyaf takviyeli kompozit ızgara, kompozit yağmur suyu ızgarası
D400 sınıfı ağır yük, C250 sınıfı orta yük ve B125 sınıfı hafif yük taşıtlar için cam elyaf takviyeli (ctp) geri dönüşümü olmayan kompozit malzemeden üretildiği için çalınma riski yoktur. Yağmur suyu ızgaralarımız özellikle bisiklet tekerlerinin ızgara aralarına girerek kazaları önlemek amacıyla yola çapraz gelecek şekilde tasarlanarak imalatı yapılmıştır. Yağmur suyu ızgaralarının kenarlarına kurum ve firmaların isimleri yazılabilir, farklı renklerde üretilebilir. Metal ve betona göre daha hafif olduğundan nakliyede fiyat, montajda zaman avantajı sağlar. Kompozit yağmur suyu ızgaraları çürümediğinden ekonomiktir.
İller Bankası, İl ve İlçe Özel İdareleri, Belediyeler, Toki, Telekom ve tüm resmi kurumların alt yapı ve kanalizasyon uygulamalarında kullanılabilir.
 

İletişim Bilgileri
Belen Kompozit

Belen Kompozit
Telefonlarımız

Tel: (424) 238 14 66
Fax: (424) 233 21 81
Gsm: (532) 423 50 44

Sosyal Paylaşım

Adres

Ataşehir mah. 2494 Sokak No:29/1 23040 ELAZIĞ/TÜRKİYE
Site Bağlantıları

Anasayfa
İletişim
Copyright © 2014 - Site Haritası